• Прайс-лист
  • Сертификаты
Креп-комп

Принцип фиксации анкерных креплений

17 января 2020
4655
Принцип фиксации анкерных креплений

Удержание крепежей осуществляется за счет трения, упора или склеивания. Каждое действие обладает собственной спецификой, заслуживает отдельного рассмотрения.

Трение

Сила трения противодействует внешней вытягивающей нагрузке. Она формируется при прилегании распорного элемента к телу опоры.

Величина силы трения пропорциональна силе распирания.

Упор

Крепеж упирается во внешнюю или внутреннюю поверхность опоры. Он устанавливается в заранее подготовленном отверстии, удерживается специальными распорками.

Склеивание

Фиксация метиза за счет клеевого состава. Как правило, задействуется двухкомпонентная смола, формирующая неразъемный узел.

Параметры использования

Тип анкера оказывает прямое влияние на область его применения.

  • Изделия, фиксируемые за счет силы трения. Типовые крепежи, совместимы с большинством оснований. Метизы используются при монтаже навесного оборудования, инженерных сетей, осветительных приборов.
  • Крепежи на базе упоров. Анкеры с распорками различных типов. Они обладают высокой несущей способностью, работают с гипсокартоном, фанерой и прочими тонкостенными материалами. Метизы позволяют фиксировать тяжелые конструкции, не разрушая опору.
  • Продукция на базе клеевых составов. Химические анкеры для пористых оснований. Изделия устанавливаются в пено- и шлакоблоки, востребованы на производстве и в быту.

При подборе анкеров учитываются параметры опоры, характеристики удерживаемых деталей, условия эксплуатации формируемых соединений.

Создание узлов в рамках составных конструкций допускает использование различных типов анкеров.

Подробнее о специфике крепежей

Анкерные крепления различаются конструктивным исполнением, несущей способностью, спецификой монтажа. Ниже мы рассмотрим наиболее распространенные метизы, поговорим об особенностях их использования.

Химические анкеры

Химический анкер – это относительно свежий продукт, представленный в виде клеевой смеси. Состав состоит из синтетической смолы, наполнителя и отвердителя, подходит для частного и производственного использования.

Анкер монтируется в определенном порядке:

  • подготовка отверстия в пористом основании;
  • очистка проема от пыли и грязи;
  • помещение в отверстие рабочей смеси;
  • установка анкерного крепежа.

Состав застывает в течение определенного времени. Сформированный узел обладает значительной прочностью, устойчив к разрушению и извлечению.

При производстве клеевой смеси используется полиэстер или акрил. Продукция поставляется в специальных емкостях, защищена от внешнего воздействия.

Выделяют два типа химических анкеров.

  • Ампульные. Клеевые смеси реализуются в стеклянной таре. Ампулы помещаются в монтажный проем, после чего раздавливаются анкером. Высвободившийся состав затвердевает, образуя неразъемное соединение.
  • Инъекционные. Химические компоненты хранятся в картриджах. Для подачи клеевого раствора используется специальный пистолет.

Химические анкеры совместимы с газосиликатом, известняком, пустотелым кирпичом. Продукция не боится температурных перепадов, востребована при реализации проектов различной сложности.

Достоинства монтажных смесей:

  • формирование соединений в любом пространственном положении;
  • размещение анкеров вблизи друг друга;
  • быстрая подготовка к работе;
  • простой монтаж.

Химические анкеры используются при решении следующих задач:

  • установка армирующих штырей;
  • проведение кровельных работ;
  • установка удерживающих и декоративных конструкций;
  • проведение ремонтных мероприятий.

Удерживающий состав является диэлектриком, задействуется при электромонтажных работах.

Распорные анкеры

Распорные анкеры – это типовые крепежи, удерживаемые за счет силы трения. Изделия состоят из распорной втулки, фланцевой гайки, шпильки с конусообразным основанием.

Верхняя часть метиза представлена в различном исполнении:

  • кольцо;
  • крюк;
  • костыль;
  • сплющенное ушко.

Наиболее распространенные анкеры имеют навершие в виде шестигранной шляпки.

Крепежи обозначаются последовательностью трех цифр. Первая отображает наружный диаметр метиза, вторая – диаметр резьбы, третья – общую длину. Маркировка представлена на упаковочном стикере и в сопроводительных документах.

Анкеры устанавливаются в заранее подготовленные отверстия. Они протягиваются подходящим ключом, образуют прочное, долговечное соединение.

Посредством распорных крепежей монтируются лестничные конструкции, кондиционеры, инженерные сети.

Продукция обладает следующими преимуществами:

  • стойкость к ударному воздействию;
  • длительный срок службы;
  • высокая прочность на излом.

Крепежи не совместимы с пористыми материалами. Они размещаются в бетоне, естественном и искусственном камне.

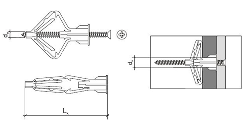
Упорные крепежи

Упорные анкеры являются аналогами дюбелей Молли. Продукция ориентирована на тонкостенные опоры, имеет типовую конфигурацию:

  • цанга с продольными прорезями и внутренней резьбой;
  • винт с зазубренной шайбой;
  • опорный стержень.

Метиз подвергается гальваническому цинкованию, обладает длительным сроком службы.

Анкеры монтируются в следующем порядке:

  • разметка основания с последующим высверливанием отверстий;
  • установка цанги в рабочий проем;
  • фиксация зазубренной шайбы;
  • частичное вкручивание винта с последующим вытягиванием;
  • формирование распорных элементов вследствие деформации цанги;
  • полное вкручивание винта.

Вновь созданный узел проходит визуальную проверку. При малой несущей способности соединения (неполное раскрытие цанги), крепеж заменяется новым.

При подборе метизов учитываются характеристики основания, масса фиксируемых элементов, специфика эксплуатации узла.

Понравилась
статья?

Оцени и подпишись на нас в соцсетях

Уточните у менеджера
После обработки заказа менеджер свяжется с Вами и вышлет ссылку для оплаты по карте!
Авторизуйтесь и оцените преимущества личного кабинета
Отслеживание статуса и местонахождения заказа;
Закрепление личного менеджера и скидок на квартал: 7%, 14%, 21%, 32%, 40%, 46%;
Показ цен в каталоге с учетом персональной скидки;
История заказов и возможность их повторения;
Возможность сохранения товаров в «Избранное» для быстрого сбора заказов.